DIN 46395


d1


d2


d3
max.

d4


d5
Hole or pin

e1


l1


l2
@

630
250
112
56
16 bis 32
140
475
400
315
375
315
710
355
160
80
28 bis 40
160
530
450
800
400
600
500
900
450
670
560
1000
500
750
630
1120
560
850
710
1250
630
950
800


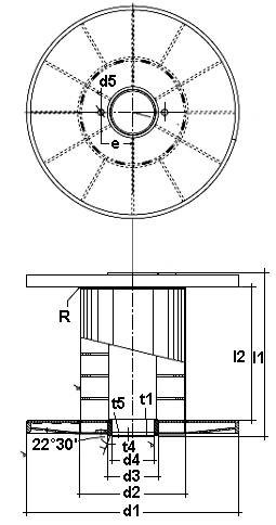
DIN 46397


d1


d2


d3


d4


l1


l2


d5
Hole or pin

e


t1


t4


t5


V1
dmq
630
355
160
127
375
315
28
100
63
20
2
67,0
355
475
400
86,2
400
74,4
450
61,1
710
400
300
250
425
355
40
170
125
40
2,5
95,9
400
530
450
121,6
450
106,6
500
89,8
800
450
300
250
475
400
137
450
600
500
172
500
153
560
128
1000
560
200
250
750
630
50
250
125
40
2,5
340
630
298
710
245
1250
710
300
250
950
800
665
800
580
900
473

DIN 46395


d1


d2


d3
max.

d4


d5
Hole or pin

e1


l1


l2
@

630
250
112
56
16 bis 32
140
475
400
315
375
315
710
355
160
80
28 bis 40
160
530
450
800
400
600
500
900
450
670
560
1000
500
750
630
1120
560
850
710
1250
630
950
800


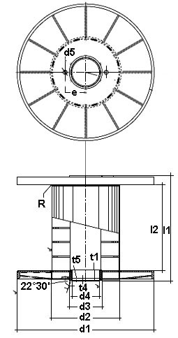
DIN 46397


d1


d2


d3


d4


l1


l2


d5
Hole or pin

e


t1


t4


t5


V1
dmq
630
355
160
127
375
315
28
100
63
20
2
67,0
355
475
400
86,2
400
74,4
450
61,1
710
400
300
250
425
355
40
170
125
40
2,5
95,9
400
530
450
121,6
450
106,6
500
89,8
800
450
300
250
475
400
137
450
600
500
172
500
153
560
128
1000
560
200
250
750
630
50
250
125
40
2,5
340
630
298
710
245
1250
710
300
250
950
800
665
800
580
900
473