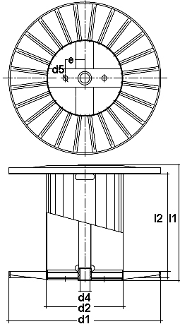
DIN 46395


d1


d2


d3
max.

d4


d5
Hole or pin

e


l1


l2
@

Winding
volume
in dmq
800
400
160
80
28 bis 40
160
600
500
188,5
900
450
670
560
267,2
1000
500
750
630
371,1
1120
560
850
710
524,6
1250
630
950
800
732,4
1400
710
40 bis 63
300
1060
900
1029,1
1600
800
1180
1000
1508,0
1800
1000
200
100
1320
1120
1970,4
2000
1120
1500
1250
2695,5
2240
1250
250
125
1700
1400
3799,1
2500
1500
1900
1600
5026,5
2800
1800
280
140
2120
1800
6503,1